타격식 복합 선별기

기술소개 타격식 복합 선별기

HIT TYPE COMPLEX SORTER

  • 발명명 : 타격식 복합 선별기
  • 분야 : 폐기물 선별기술, 재활용
  • 핵심기술 : 원심력 타격, 풍력 건조
  • 목표 : 이물질 제거 및 수분 건조

선별기 개요

씨아이에코텍의 타격식 복합 선별기는 원심력을 이용한 타격과 풍력 건조 기술을 통해 폐합성수지 등의 폐기물에서 토사 등의 이물질과 수분을 효과적으로 제거하는 첨단 선별 장비입니다. 기존의 단순한 선별 방식과 달리, 본 선별기는 선별부에서 발생하는 원심력을 활용하여
폐기물에 묻은 이물질과 수분을 완벽하게 걸러내고, 동시에 풍력 발생을 통해 수분을 건조시킵니다. 구동부와 연결된 정밀한 회전편들이 협력하여 효율적인 타격 작업을 수행하며,
스크린을 통해 이물질만 선택적으로 분리하여 고품질의 재활용 원료나 산업용 연료를 생산합니다.

본 선별기의 핵심은 회전편의 자유회전 메커니즘과 원심력을 통한 효율적인 이물질 분리입니다. 특히 선별부와 구동부의 조합은 기존 기술의 한계를 극복한 혁신적인 솔루션으로, 선별 효율성과 건조 성능을 동시에 향상시킵니다.

핵심 기술 및 선별기 구성

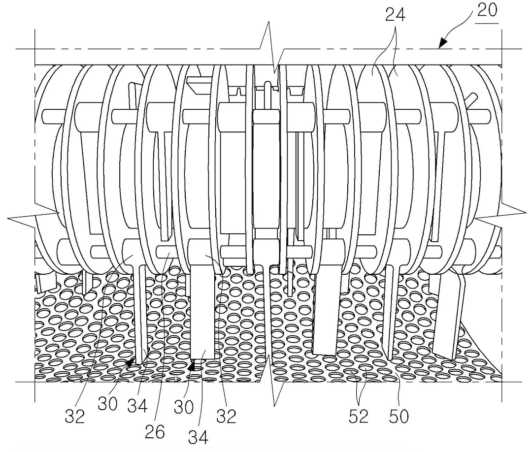
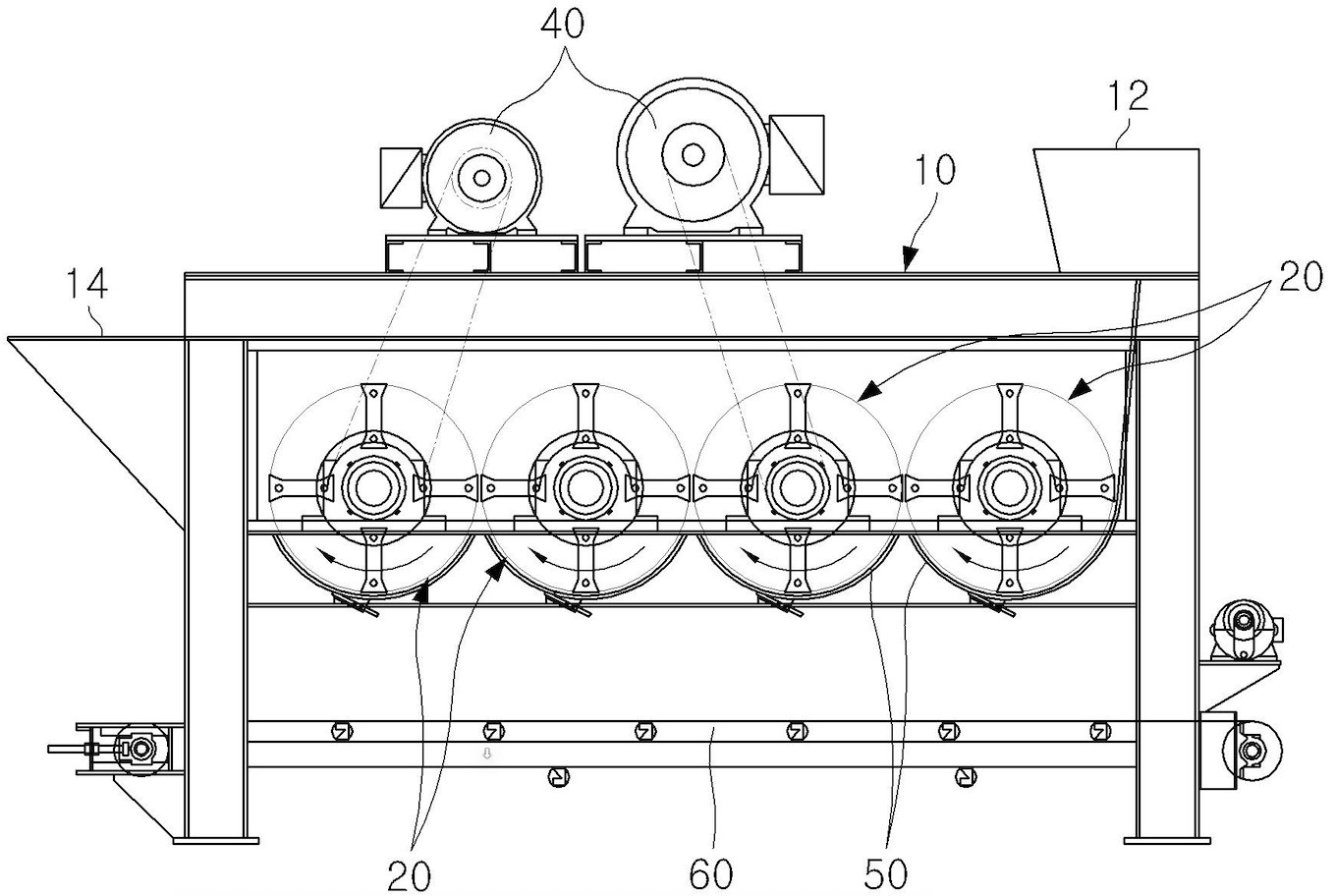
본 타격식 복합 선별기는 선별부, 구동부, 스크린의 3가지 핵심 구성요소로 설계되었습니다. 선별부는 샤프트, 디스크들, 연결축들, 회전편들로 구성되어 투입된 폐기물을 원심력으로 타격하여 이물질과 수분을 효과적으로 분리합니다. 구동부는 각 선별부에 원심력을 제공하며, 스크린은 분리된 이물질과 수분만 자중에 의해 하부로 낙하시킵니다. 회전편의 자유회전 메커니즘과 라운드진 형상의 스크린 설계를 통해 최적의 선별 효율을 달성합니다.

  • 원심력을 이용한 타격으로 폐기물의 이물질과 수분 완벽 분리
  • 풍력 발생을 통한 수분 건조 및 적정 크기 절단 동시 수행
  • 자유회전 가능한 회전편과 라운드진 스크린의 혁신적 설계
  • 복수의 선별부 구성으로 대용량 폐기물 처리 효율성 극대화

기술의 효과 및 장점

본 타격식 복합 선별기는 기존 선별 방식 대비 월등한 성능을 보여줍니다. 원심력 타격과 풍력 건조를 통한 체계적인 폐기물 처리로 이물질 및 수분 분리 효율이 거의 완벽하게 향상되었으며,
종래 매립 또는 소각 방식에서 벗어나 폐기물을 산업현장의 연료나 재활용 원료로 직접 활용할 수 있어 처리 비용을 절감하고 환경오염을 방지합니다. 특히 발열량이 높은 폐합성수지에서 토사 등의 이물질과 수분을 완벽하게 제거하여
최대 발열량을 발휘할 수 있게 함으로써, 연료 효율성과 재활용 원료의 품질을 동시에 향상시키는 혁신적인 기술입니다.